【海外記事】[ソニー]が「AIゴーストプレイヤー」特許を取得──プレイ中に詰まるとAIが攻略支援?

【海外記事】です。
複数の海外メディアが、
[ソニー・インタラクティブエンタテインメント(SIE)]が
AIを活用した新技術の特許
を取得したと報じています。
この特許は、
プレイヤーがゲーム内で行き詰まった際に
AIが支援する仕組みで、
プレイを補助したり一部の操作を代行する
「AIゴーストプレイヤー」技術が
含まれているとのこと。
|
|
|
引用・抜粋します。
Source:eurogamer.net▶ソニーは、プレイステーションのゲームに行き詰まったときに代わりにプレイしてくれるAIゲーミングゴーストの特許を取得しました。
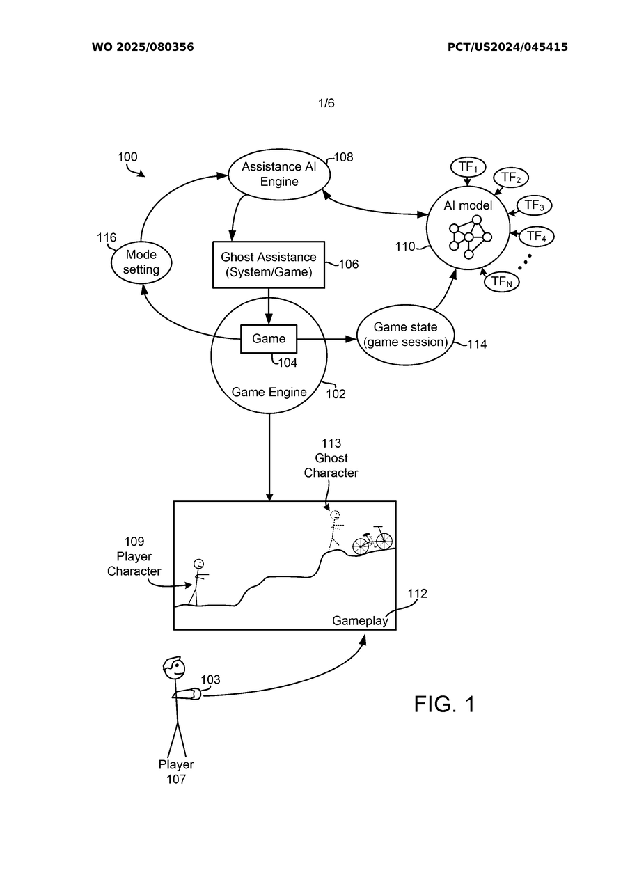
[ソニー]が1年以上前に申請した特許が再び浮上し、同社がゲームで行き詰まったプレイヤーを支援できるAI「ゴースト」のアイデアを持っていることが明らかになった。
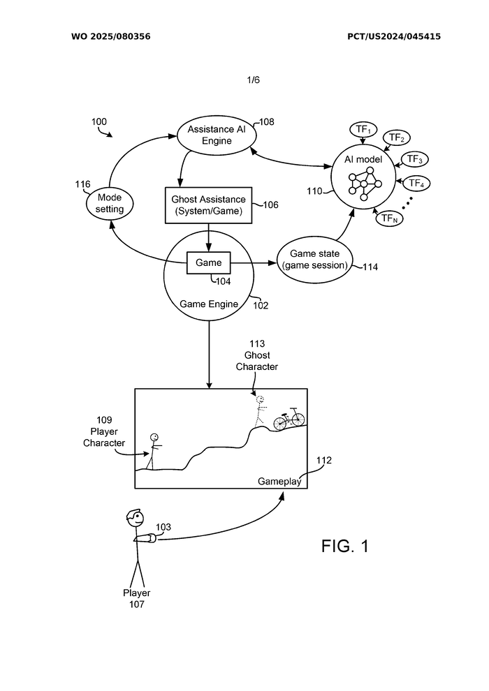
allaboutAIとVGCが最近注目した前述の特許は、プレイヤーキャラクターの「オーバーレイ」バージョンについて記述しています。このオーバーレイキャラクターは、パズルの解き方や「コントローラーの入力ボタンシーケンスの例」など、様々なアクションをデモンストレーションすることができ、プレイヤーはそれに基づいてゲームを進めることができます。
場合によっては、AIの「ゴースト」がプレイヤーのキャラクターと会話し、何をすべきかについて「ガイダンスや指示」を与えることもあります。また、ゴーストがプレイヤーに代わって特定のセクションを完了させることもあります。これは、画面上の動画や画像でヒントやガイドを提供するPlayStationのゲームヘルプのPS5版の進化版と言えるでしょう。
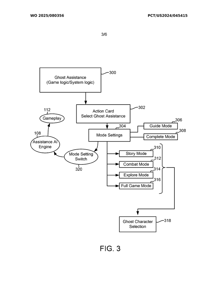
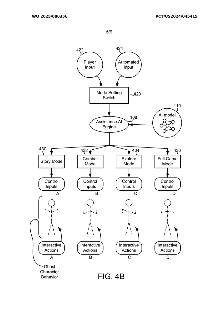
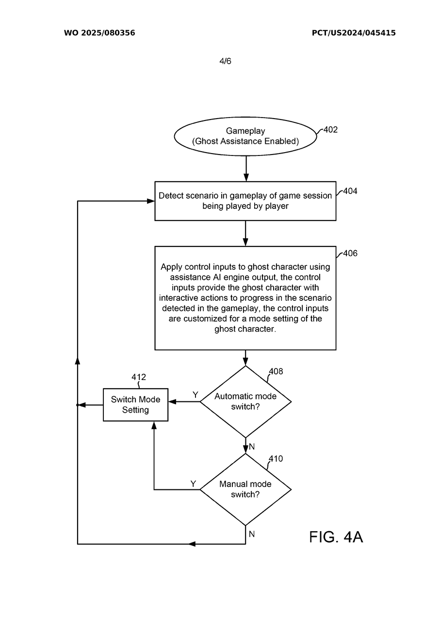
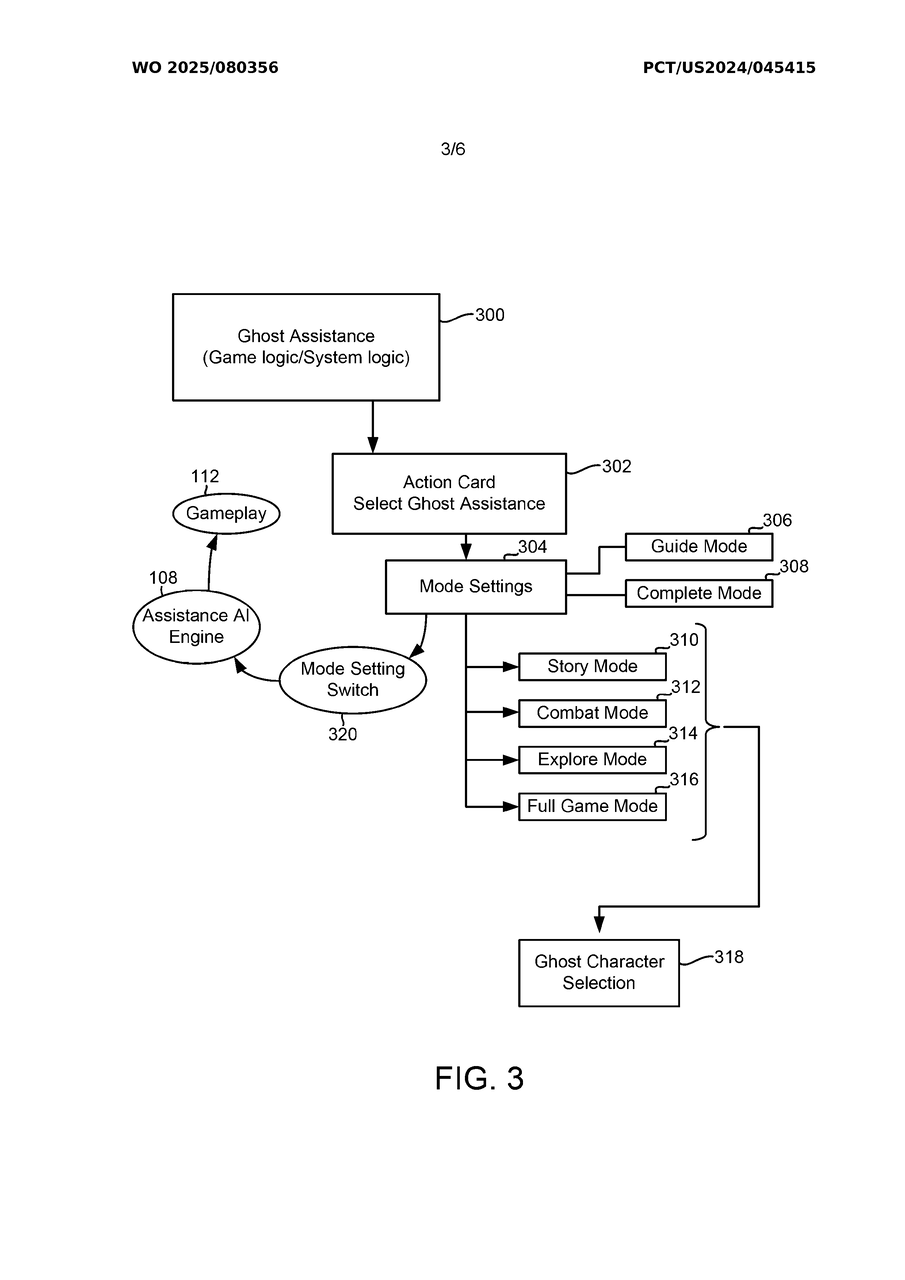
特許内の画像には、モード切り替えについても説明されており、ユーザーが選択できる4つの異なるオプションがまとめられています。これらは、ストーリーモード、戦闘モード、探索モード、そしてフルゲームモードです。
「ビデオゲームの技術は大きく進歩しましたが、一部のプレイヤーは支援を必要としています。ゲームは非常に複雑になり、熟練していないプレイヤーはしばしばプレイをやめてしまったり、タスクの達成に苦労したりします」と訴状には記されています。「プレイヤーはゲームについて調べたり、インターネットサイトで過去のゲームプレイを調べたりすることはできますが、そのプロセスには時間がかかり、プレイヤーが現在直面しているタスクやシナリオとはあまり関連性がないことがよくあります。」
これらの AI ゴースト ヘルパーが現実のものとなった場合、特定の PlayStation ゲームの既存の映像に基づいてトレーニングされると思われます。
ゲームにおけるアシスタント機能はもちろん目新しいものではありません。すでに述べたように、PS5にはゲームヘルプ機能があり、[Microsoft]には独自のCopilot AI機能があります。
一方、より広い意味でのゲームには、できるだけ幅広いユーザーがプレイできるように、様々な機能が盛り込まれていることがよくあります。これには、難易度調整機能からコントローラーのリマッピング、色覚異常モード、ゲーム内ヒントシステムまで、あらゆるものが含まれます(個人的には、ガイブラシが『Return to Monkey Island』に隠していた本がとても気に入りましたが、他にも多くの例があります)。
AIに関しては、業界内で依然として激しい議論が交わされています。2024年にUnityが発表したレポートによると、同社のツールを使用しているスタジオの62%がゲーム開発のどこかの段階でAIを活用しています。このレポートでUnityは、アニメーションが最も多くのAI活用例であると指摘しています。一方、同年のGDC調査では、業界関係者の約3分の1が既にAIツールを使用していると回答しています。この数字は現在ではさらに上昇している可能性があり、さらに最近の東京ゲームショウの調査では、日本のゲーム企業の半数以上が開発にAIを活用していると報告されています。
昨年、Epic Games の代表 Tim Sweeney 氏は「今後の制作のほぼすべてに AI が関与するようになる」と発言しており、Steam ゲームが AI を使って構築されたかどうかを開示することは、開発者がどのようなシャンプーを使っているかを伝えるのと同じくらい意味がありません。
以下、かなり技術的な内容ですが、
今回取得された特許の図案を
WIPO(世界知的所有権機関 / World Intellectual Property Organization)
公式サイトより引用します。
■WO2025080356 AI GENERATED GHOST PLAYER

AIによるゲームアシスタントで離脱をより防ぐ仕組み?なのでしょうか。
『SILENT HILL f』での低難易度追加が記憶に新しいですが
やはりゲーム初心者の受け入れは今後のユーザ化に向けて非常に重要という意味での
特許のように感じましたが皆さんはいかがでしょうか?
まあ最近のタイトルは難易度もカスタマイズできるタイトルも多いですし。。
万能までとはいきませんが、AIの進化は止まらないですね。
■関連記事
|
|
|









